SI
SI
discoversearch

We've detected that you're using an ad content blocking browser plug-in or feature. Ads provide a critical source of revenue to the continued operation of Silicon Investor.  We ask that you disable ad blocking while on Silicon Investor in the best interests of our community.  If you are not using an ad blocker but are still receiving this message, make sure your browser's tracking protection is set to the 'standard' level.
Technology Stocks : Loop Industries, Inc.
LOOP 1.640+2.5%Oct 31 9:30 AM EST

 Public ReplyPrvt ReplyMark as Last ReadFilePrevious 10Next 10PreviousNext  
To: donpat who wrote (5)5/5/2016 12:33:23 PM
From: donpat   of 36
 
United States Patent Application20120184788

Kind Code

A1
Loop; Thomas E. ; et al.July 19, 2012

BIOMASS AND WASTE PLASTICS DEPOLYMERIZATION MACHINE AND METHODS VIA SUPERCRITICAL WATER



Abstract
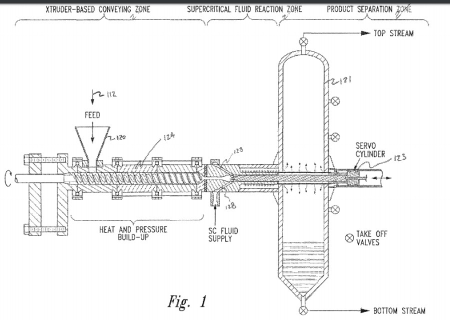
A method for transforming a selected polymeric material into a plurality of reaction products via supercritical water is disclosed. The method comprises: conveying the selected polymeric material through an extruder, wherein the extruder is configured to continuously convey the selected polymeric material to a supercritical fluid reaction zone; injecting hot compressed water into the supercritical fluid reaction zone, while the extruder is conveying the selected polymeric material into the supercritical fluid reaction zone so as to yield a mixture; retaining the mixture within the reaction zone for a period of time sufficient to yield the plurality of reaction products. The reaction zone may be characterized by a tubular reactor having an adjustably positionable inner tubular spear, wherein the tubular reactor and the inner tubular spear further define an annular space within the reaction zone, and wherein the mixture flows through the annular space and into a reaction products chamber.

Inventors:Loop; Thomas E.; (Seattle, WA) ; Flynn; James D.; (Auburn, WA) ; Allan; Graham; (Kenmore, WA) ; Van Swearingen; Steven C.; (Edmond, WA) ; Gaw; Kevin O.;(Seattle, WA)
Assignee:XTRUDX TECHNOLOGIES, INC.
Seattle
WA

Family ID:46491272
Appl. No.:13/297217
Filed:November 15, 2011

LINK
Report TOU ViolationShare This Post
 Public ReplyPrvt ReplyMark as Last ReadFilePrevious 10Next 10PreviousNext