| An SI Board Since May 2016 |
| Posts |
SubjectMarks |
Bans |
Symbol |
| 36 |
3 |
1
|
LOOP |
|
Loop Industries is an environmentally responsible manufacturer of Purified Terephthalic Acid (PTA) and Ethylene Glycol (EG), the fundamental chemical components used in manufacturing polyethylene terephthalate (PET). PET plastic is most commonly found in beverage bottles, consumer packaging and polyester fiber. Loop Industries' proprietary process sustainably converts waste plastics into high purity PTA and EG that can be used to create up to 100 percent recycled food grade PET resin. This commercial grade PET resin can be used in a variety of bottling, consumer packaging and other industrial applications.
| United States Patent | 8,980,143 | Loop , et al.
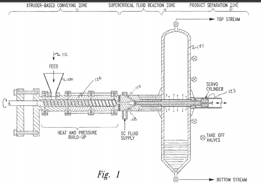
| March 17, 2015 | Biomass and waste plastics depolymerization machine and methods via supercritical water
Abstract A method for transforming a selected polymeric material into a plurality of reaction products via supercritical water is disclosed. The method comprises: conveying the selected polymeric material through an extruder, wherein the extruder is configured to continuously convey the selected polymeric material to a supercritical fluid reaction zone; injecting hot compressed water into the supercritical fluid reaction zone, while the extruder is conveying the selected polymeric material into the supercritical fluid reaction zone so as to yield a mixture; retaining the mixture within the reaction zone for a period of time sufficient to yield the plurality of reaction products. The reaction zone may be characterized by a tubular reactor having an adjustably positionable inner tubular spear, wherein the tubular reactor and the inner tubular spear further define an annular space within the reaction zone, and wherein the mixture flows through the annular space and into a reaction products chamber.
Inventors:| Loop; Thomas E. (Seattle, WA), Flynn; James D. (Auburn, WA), Allan; Graham (Kenmore, WA), Van Swearingen; Steven C. (Edmonds, WA), Gaw; Kevin O. (Seattle, WA) |
|
Applicant: Loop; Thomas E. Flynn; James D. Allan; Graham Van Swearingen; Steven C. Gaw; Kevin O. | Seattle Auburn Kenmore Edmonds Seattle | WA WA WA WA WA | US US US US US | |
| Family ID: 46491272 | | Appl. No.: 13/297,217 | | Filed: November 15, 2011 |
What is claimed is:
1. A method for transforming a selected polymeric material into a plurality of reaction products, the method comprising the steps of: conveying the selected polymeric material through an extruder so as to define a selected polymeric material flowstream, wherein the extruder is configured to continuously convey the selected polymeric material from an upstream inlet to a supercritical fluid reaction zone; injecting hot compressed water into the supercritical fluid reaction zone while the extruder is conveying the selected polymeric material flowstream into the supercritical fluid reaction zone so as to yield a mixture; retaining the mixture within the reaction zone for a period of time sufficient to yield the plurality of reaction products, wherein the reaction zone is defined by a tubular reactor having an inner tubular spear, wherein the tubular reactor and the inner tubular spear further define an annular space within the reaction zone, and wherein the mixture flows through the annular space; and expelling the plurality of reaction products out of the supercritical fluid reaction zone and into a reaction products chamber.

NASDAQ:LOOP
|